2022-11-03
??

?高溫熱水循環泵
UCW系列泵為單極、單吸、臥式、殼體中心線支承結構的離心泵。
適用工況
冶金鋼鐵/Metauuvgv steel
石油化工行業/The Petrochemical Industry
其它化工行業/Other Chemical Industries

特性
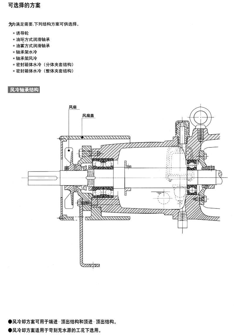
殼體中心線支承、重工位設計。
轉子后拉出試結構。
完全符合API 610規范。
所有部件可更大程度實現互換。
柔性設計,適用介質范圍寬泛。
低NPSH.

說明:
(*1)當有兩項選擇時,代碼按順須排列。
(·2)當葉輪直徑代碼后有字母“Y”。“Z”時表示不同的葉輪和泵體設計。例如,150×100 UCWM 400,150X100 UCWM 40Y.
150X100 UCWM40Z的葉輪和泵體設計彼此 互不相同。
(·3)當泵配置增速或降速裝置時,母“G”,例如,150x100 UCW G M表示泵被通過齒輪箱的電機驅動。
(*4)當泵進口和出口相時,進出口尺寸代號可不必重復寫,例如,200 UCWM 20可代表200 X200 UCWM 20.
(*5)當配裝誘導輪時,需要更大進口尺寸。






